Вы здесь

Автоматизированная система управления током серии в производстве алюминия

Автоматизированная система управления током серии в производстве алюминия
04.06.2025 - 16:09 - Екатерина Маркизова

В 2019 году ООО «НПО «Каскад-ГРУП» г. Чебоксары выиграло тендер на замену комплекса ФЕСТО системы управления током 3-ей серии цеха электролиза ПАО «РУСАЛ Братск», филиал в г. Шелехов (ИркАЗ).

Комплекс ФЕСТО был введен в эксплуатацию в 1996 году. К настоящему времени элементная база комплекса устарела, технические средства выработали свой ресурс, в связи с чем руководством компании было принято решение о замене комплекса с сохранением его функционала.

Основная задача системы управления током 3-ей серии комплекса ФЕСТО – это стабилизация тока, которая осуществлялась путем управления положением РПН (регулятора напряжения под нагрузкой) на трансформаторах агрегатов, входящих в серию.  

Согласно требованиям заказчика, монтаж нового комплекса необходимо было провести в условиях действующего производства с последовательным переключением работающих элементов на элементы новой системы. При этом время отключенного состояния каждого агрегата, входящего в серию, при выполнении монтажных и пусконаладочных работ должно было быть минимальным.

Архитектура системы

Вновь созданная система имеет трехуровневую иерархическую структуру, которую унаследовала от существующей системы, реализованной на базе комплекса ФЕСТО.

В соответствии с выбранной архитектурой специалисты компании НПО "Каскад-ГРУП":
• разработали проектную документацию системы и конструкторскую документацию на комплектные изделия – шкафы автоматики;
• установили изготовленные на собственном производстве шкафы автоматики и АРМ высокой заводской готовности;
• разработали технологическое, системное и прикладное программное обеспечение всей системы.

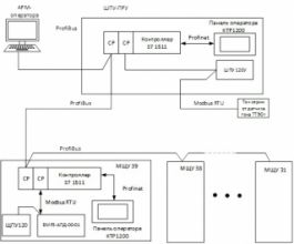
Новая структура автоматизированной системы управления током 3-й серии представлена на рис.1.

На нижнем уровне расположены 9 шкафов автоматики местного управления (МЩУ) кремниевыми выпрямительными агрегатами (КВА). Каждый агрегат КВА включает в себя силовой трансформатор и четыре вентильных преобразователя.

На среднем уровне расположен шкаф программного управления с элементами ручного управления агрегатами – шкаф автоматики ШПУ-ПРУ.

На верхнем уровне расположен АРМ оператора-технолога (далее по тексту – АРМ).

Местные щиты управления

МЩУ – местные щиты управления, установлены в зоне управляемых ими агрегатов и предназначены для выполнения следующих функций:
• защиты трансформатора и вентильных блоков;
• формирования предупредительной и аварийной сигнализации и индикации;
• сбора и передачи информации на верхний уровень – ШПУ-ПРУ и АРМ.

МЩУ может работать в двух режимах:
• «Местный» - когда управление агрегатом может осуществляться только от органов управления, расположенных на передней панели МЩУ;
• «Дистанционный» - когда управление агрегатом разрешается от шкафа ШПУ-ПРУ.

Шкафы автоматики (МЩУ-31 – МЩУ-39) воспринимают сигналы управления от ШПУ-ПРУ в виде замыкания «сухих контактов», получаемые по физическим линиям в режиме ручного управления. Управление возможно от контроллера ШПУ-ПРУ или АРМ в режиме автоматического управления. Контроллеры МЩУ связаны с контроллером ШПУ-ПРУ и АРМ по сети Profibus.

В МЩУ реализованы все требуемые защиты трансформатора и кремниевых выпрямительных блоков (БВК) управляемого им агрегата КВА. Перечень защит, их уставки, а также соответствующие им предупредительная и аварийная сигнализация приведены в таблице 1.

В отличие от заменяемых шкафов, выполненных на релейных элементах, в новых шкафах МЩУ производства ООО «НПО «Каскад-ГРУП» применена современная и высоконадежная элементная база: сбор информации о состоянии агрегатов выполнен на контроллерах Siemens S7-1500; все основные защиты трансформатора, вентильных блоков и масляного выключателя реализованы на базе микропроцессорного блока релейных защит БМРЗ-АПД-01 производства НТЦ «Механотроника». Новые шкафы более компактны, эргономичны и удобны в обслуживании. На рис. 2 и рис. 3 показаны для сравнения виды старых и новых шкафов МЩУ-39.

После завершения монтажных и пусконаладочных работ были выполнены работы по проверке защит, реализованных МЩУ. Проверка токовых защит осуществлялась с использованием измерительного устройства параметров релейной защиты РЕТОМ-11М производства ООО «НПП «Динамика» г. Чебоксары.

Более подробно: https://kaskad-asu.com/press-center/publications/avtomatizirovannaya-sistema-upravleniya-tokom-serii-v-proizvodstve-alyuminiya.html